株価情報
証券コード : 4343
2023年00月00日 15:00 現在
現在値 y,yyy円
前日比 +yy(+y.yy%)
コーポレート・
ガバナンスの状況CORPORATE GOVERNANCE
コーポレートガバナンスに関する基本方針
当社は、従来の社是を昇華させた「こどもたちの夢中を育み、“えがお”あふれる世界をつくる。」というパーパスのもと、そのパーパス実現に向けた企業の方向性を示すビジョンを『こどもたちの“たのしい”を創造し、「こころ・あたま・からだの成長」を育み続けるファミリー支援企業になる』とし、持続可能な社会への貢献と企業価値向上を実現する企業としてサステナビリティ経営を実行してまいります。その実現に向けコーポレートガバナンスを経営の最重要課題のひとつとして認識し、実効的なコーポレートガバナンスを構築してまいります。
第1章 総則(コーポレートガバナンスに関する基本的な考え方)
1.「お客さまを原点に平和を追求し、人間を尊重し、地域社会に貢献する」というイオンの基本理念と当社のパーパスを、すべての企業活動の指針とします。
2.お客さま、ステークホルダーとの積極的な対話に努めるとともに、主体的な情報発信を行い、適切な協働を実現します。
3.適切でわかりやすい情報開示を行い、意思決定の透明性・公正性を確保します。
4.取締役会は当社の持続的成長と企業価値向上のため、経営理念に基づいた成長戦略・経営計画を示し、迅速・果敢な意思決定を支援し、実効性の高い監督を行います。
5.当社は企業活動の中核としてサステナビリティ経営を進めていくことを掲げました。持続可能な社会への貢献と企業価値向上を実現する企業を目指し、サステナビリティ方針を制定し、具体的取組み内容と数値目標を定め、サステナビリティ経営の実効性を高めてまいります。
6.株主との建設的な対話を通じて得られた意見や評価を経営に反映することにより、持続的成長と企業価値向上に活かします。
第2章 株主の権利・平等性の確保
1.少数株主を含む全ての株主に対して実質的な平等性を確保するとともに、株主の権利の確保と適正な権利行使に資するため、速やかな情報開示と環境整備を行います。
2.招集通知の記載情報の正確性を担保しつつ株主総会議案の充分な検討期間を確保するため、法定期限より可能な限り前倒して招集通知を送付するとともに、招集通知を発送するまでの間に当社ホームページ及び東京証券取引所のウェブサイトにより公表を行い、早期開示を行います。
3.海外株主に向けた英文による情報提供として、招集通知(添付書類除く)の英訳版を当社ホームページに掲載します。またその他開示資料の英文開示の充実を図ってまいります。
4.政策保有株式については、当社にとって保有の意義が認める場合を除き、保有しないことを基本方針とします。
第3章 株主以外のステークホルダーとの適切な協働
1.持続的な成長と中長期的な企業価値向上のため、株主をはじめとする全てのステークホルダーとの協働を実践するため、代表取締役社長をはじめとする経営陣が先頭に立って、ステークホルダーの権利や企業倫理を尊重する企業風土の醸成に努めます。
2.全役員・従業員の基本原則としてイオンの基本理念と当社のパーパスを共有し、日常の業務遂行にわたる細則を定めます。
3.サステナビリティ(持続可能性)をめぐる課題に対して社会貢献・環境保全活動を積極的に推進し、企業価値を継続的に高めるとともに、よき企業市民として地域社会の発展に貢献できるように取り組みます。
4.ダイバーシティの取り組みとして、店舗の責任者をはじめ管理職への女性登用を積極的に行うとともに、管理職のダイバーシティに関する意識を高める取り組みを推進します。さらに国籍に関係なく優秀な人財を採用し活躍できる体制を構築します。
5.法令上疑義のある行為等について従業員が直接情報提供を行う内部通報制度を導入しており、重大な事案については取締役会及び監査役会に報告されます。
第4章 適切な情報開示と透明性の確保
1.適切な情報開示を行うことが不可欠であるとの認識のもと、法令及び規則などに従い適時適切に開示し透明性・公正性の確保に努めます。
2.法令などに基づく開示以外にも、株主をはじめとするステークホルダーにとって重要と判断される情報(非財務情報を含む)については、当社ホームページ等を通じて積極的に開示を行います。
第5章 取締役会の責務
1.当社は、「取締役会規則」を制定し、法令等に準拠して取締役会で審議する内容を、取締役会に付議すべき事項として定めています。また、「職務責任権限規程」を定め、経営陣が執行できる範囲を明確にしており、組織変更等に応じて常に見直しがなされる仕組みを構築します。
2.当社の取締役8名のうち独立社外取締役は3名であり、取締役会において独立した立場で活発な意見交換を行うなど、経営の監督機能及び内部統制機能の強化を図ります。
3.当社は監査役会設置会社であり、監査役4名のうち社外監査役は3名(うち独立監査役2名)であります。監査役は取締役会にも出席し、常勤監査役は業務執行に関する重要な会議にも出席するとともに業務執行取締役や内部監査部門及び会計監査人と適宜意見交換を行い、実効性の高い監査に努めます。
4.当社は、執行役員制度を導入しており業務執行のスピードアップを図るとともに経営会議等の会議体を活用しグループの効率的な経営を図ります。
5.取締役及び監査役等がその役割を果たすために、コンプライアンスやガバナンス等に関する必要な研修の機会を継続的に提供するとともに、外部セミナーや外部団体への加入など積極的な情報収集を推奨します。
第6章 株主との対話
1.「株主との建設的な対話に関する基本方針」を定め、IRを担当する部門を株主との窓口として株主との建設的な対話を促進します。
2.株主や投資家向けに年2回の定期的な決算説明会を開催し、必要に応じスモールミーティング等による説明の機会を設けます。
3.株主や投資家との対話を通じて得られたご意見等については、取締役会や経営会議で報告・討議を行い、株主や投資家との対話に反映するよう努めます。
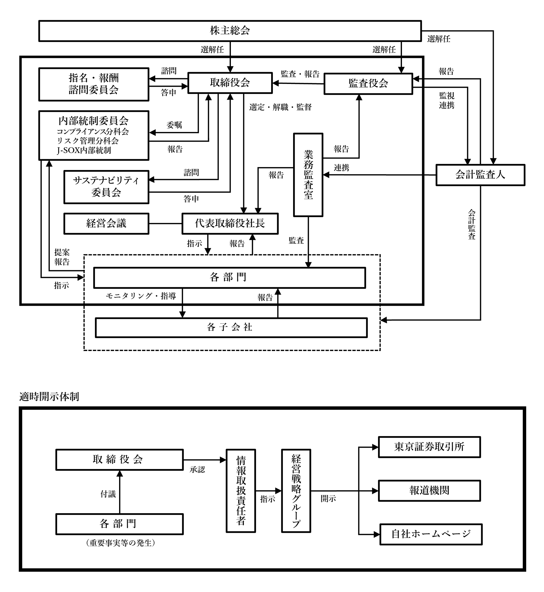
コーポレート・ガバナンス体制の概要
(1)当社の取締役は8名(うち社外取締役3名)であります。取締役会は毎月1回開催するほか、必要に応じて臨時取締役会を開催しており、監査役4名も出席しております。各取締役は、法定の決議事項及び取締役会規則に定める付議事項を審議・決議し、社外取締役や監査役からの積極的な意見や助言など活発な意見交換を行い、経営の監視機能及び内部統制機能の強化を図っております。
(2)おもに取締役会議案以外の重要な事項に関する審議・報告をするための経営会議を設置しております。経営会議は業務執行取締役、常勤監査役及び本部長で構成され、月1回開催しており、積極的な意見交換による活発な議論を行うなど迅速な意思決定と情報共有ができる体制としております。
(3)当社は監査役設置会社であり、監査役は4名(うち社外監査役3名)であります。監査役会は毎月1回開催しており、必要に応じて臨時監査役会を開催しております。監査役会において各監査役は、監査に関する重要な事項について報告を受け協議・決議しております。常勤監査役は、取締役会のほか業務執行に関する重要な会議に出席し、必要な発言を行うことができるほか、会議の記録及び決裁書類等の重要な文書を常時閲覧できるものとしております。また、内部監査部門や会計監査人と適宜情報交換を行い、実効性の高い監査に努めております。
(4)当社は、会社法及び金融商品取引法に基づく会計監査を有限責任監査法人トーマツに委嘱しております。当連結会計年度において業務を執行した公認会計士の氏名、監査業務に係る補助者の構成は以下のとおりであります。
・業務を執行した公認会計士の氏名
指定有限責任社員 業務執行社員 武井 雄次
指定有限責任社員 業務執行社員 五十嵐 大典
・会計監査業務に係る補助者の構成
公認会計士 6名、その他 23名

(2025年05月29日現在)
2025年05月29日更新